立即注册找回密码

QQ登录

只需一步,快速开始

微信登录

微信扫一扫,快速登录

搜索
小桔灯网 门户 资讯中心 杂侃天下 查看内容

医疗器械创新中的“加法”

2022-11-9 14:20| 编辑: 沙糖桔| 查看: 3149| 评论: 0|来源: 经纬医械圈 | 作者:刘经纬

摘要: 在这个日新月异的时代,“创新”永远是一个热门关键词。


在这个日新月异的时代,“创新”永远是一个热门关键词。医械行业更是如此,无论是想扎扎实实做出点实绩,还是说为了筹集资本先讲好一个故事,“创新”都是一个绕不开的话题。

本人因长年从事医疗器械行业的市场部门工作,又间或为一些企业做过顾问和咨询项目,有感于近期看到的一些创新性产品,略做浅薄总结,以期抛砖引玉,为“创新”之话题添上一把小小的柴火。

在我很小的时候,就读过《少年科学画报》上的文章,介绍发明的几种思路,其中之一就是采用“加法”,并且举出了经典的铅笔+橡皮的案例。

“加法”看似很简单,感觉有脑子就会。但越是简单的东西,就越需要深厚的功力催发。就像是剑圣独孤求败的修行境界:“四十岁后,不滞于物,草木竹石均可为剑。自此精修,渐进于无剑胜有剑之境。”如果火候不到,盲目效仿,则可能贻笑大方。

“加法”的创新,有两个核心要素:

1,相加之后的产品,是不是真的有需求;

2,此处的相加,是不是能带来他处的相减。

而且,从经典的产品角度来看,这一类创新的调研是最难的。

所以“人们只想要一辆跑得更快的马车”,所以“乔布斯从来不做新品调研”……

除此之外,“加法”的创新还需要考虑到,我们是把若干熟悉的东西相加,还是把某些关联性不大的东西整合;是依托于一个经典物品的加强,还是将某些熟悉的物品加成了某个全新的东西。


以上不是讨论,以上都是思路,每一个可能性都可以导出一个好的产品。

以下就列举一些:

一,熟悉的东西相加

“输送型球囊扩张导管”——第一次看到这个名词的时候我是蒙圈的,因为球囊导管的本体它就是一个导管,而导管就是可以起输送作用的。但当我看完产品介绍之后,我只想说一句“是在下草率了”。因为这里说的导管,其实是指微导管,而输送的内容物,也从传统的造影剂等变成了支架、弹簧圈。

其实回溯起PTA的历史,最早期的腔内扩张方法也是通过不停地增加导管外径实现的,之后才有了在导管外面增加球囊的创新。

从历史的角度来看,这是一种“加法”的创新。

从现在的视角去审视,这也是一种“在某方面做得比别人更好”的创新。即相比于普通的微导管,我不光外径不比你大,还具有球扩的能力;而相比于普通的球囊,我能做到更好的通过性和输送性。

所以,这一类创新,也可以归类为“某一类经典物品的加强”。

与之类似的,还有BGC(球囊指引导管)。在传统的长鞘或Guiding上增加了一个顺应性球囊,便结合了输送与血流阻拦两个功能为一身,还一定程度上辅助了自身的支撑与递送能力。

关键点:熟悉,基于你真正的熟悉!

二,关联不大物品的整合

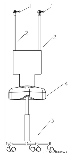
带滚轮的座椅和铅衣,一个是休息装置,一个是防护设备。他俩的关系能有多大呢?如果独立去看,关系不大,如果联系起来,发现还确实有些关联。

1,它俩会出现在同一场景中——即手术过程中,医生可能会穿着铅衣坐在椅子上。

2,他俩的特征(不完全是功能)是互补的。带滚轮的座椅提供了移动性和休息的价值,而铅衣降低了移动性,并且会加重疲劳。

两者结合,就产生了“0重力铅衣”。

球囊是扩张用的,刀片是切割用的,某种角度上看,刀片还是球囊的“克星”。但扩张的动作本身也是一个径向的力,而刀片又刚好需要一把这样的力来进行“切入”的动作。并且,刚柔并济从来都是一种高级的思考方式,越是看似相反、相克的东西或许越能够结合出全面的能力。

关键点:于无关系之中发掘关系,时间、空间皆可产生关系。要留意两个功能近似的东西,也要留意彼此互补的东西。

三,经典物品的加强

前文说到的球囊导管的加强,还仅仅体现在参数上,而有一些加强,则可能是结构性或功能性的。

早期的颅内取栓支架是基于颅内支撑支架的一种创新性应用,但它终归不是为了取栓而生的产品。它是为了支撑而生的,并没有考虑到自己如何更多、更完整、更高效地取出血栓,也没有顾及取到血栓之后如何防止它们在拉拽过程中产生逃逸现象。

于是,新研发的取栓支架开始考虑完善上述缺点,例如将“切割嵌合”的动作改为“卡抱抓取”,在支架的远端设计出篮网式的保护结构。

甚至还有一些产品,在动作之上增加了动作,在“卡、抓、拉”的基础上还增加了“旋”与“卷”,不光能更好地“拽”下血栓,还能够将血栓同时“卷”进自己的轴心,更好地减少逃逸。

卡在边缘(图1、图2)与卷入内芯(图3、图4)的区别

关键:参数、结构、功能、交互、行为、展示……每一个维度都有可能进一步加强。

四,将熟悉的东西加成了全新的东西

微导管,大家都很熟悉,但是“递送辅助微导管”,却是一个创新性产品。

为了消除“台阶效应”(“窗台效应”),临床上可以运用很多方法,这其中就包括用大一些的微导管(如0.027”微导管)。

但有没有可能单独创新出一种产品,能够尽可能地“塞实”这个窗台呢?而且这个填塞的东西还要尽可能地考虑到不影响导管的柔顺性、减少头部对血管的刺激性甚至损伤的可能。

事实上,也有人这么做了。

关键:当我们开始“将就”的时候,或许就是我们可以创新的时候。(例如用0.027”消除台阶的时候)

所以说,“加法”的创新看似简单,但也需要足够功力的支撑。但这样的功力也并不是无章可循的瞎练,仔细总结、勤加思考,还是可以摸出其中的一些方法。

本文浅薄且草率地做了一些归纳和思考,希望诸君开卷有益,也期待能引出更多有价值的指导。


声明:
1、凡本网注明“来源:小桔灯网”的所有作品,均为本网合法拥有版权或有权使用的作品,转载需联系授权。
2、凡本网注明“来源:XXX(非小桔灯网)”的作品,均转载自其它媒体,转载目的在于传递更多信息,并不代表本网赞同其观点和对其真实性负责。其版权归原作者所有,如有侵权请联系删除。
3、所有再转载者需自行获得原作者授权并注明来源。

最新评论

关闭

官方推荐 上一条 /3 下一条

客服中心 搜索 洽谈合作
返回顶部