立即注册找回密码

QQ登录

只需一步,快速开始

微信登录

微信扫一扫,快速登录

搜索
小桔灯网 门户 资讯中心 投融动态 查看内容

最新融资!精准诊疗公司完成Pre-A轮融资

2026-3-3 14:26| 编辑: 鹏哥| 查看: 1956| 评论: 0|来源: 思宇MedTech

摘要: 本轮资金将重点推进公司AI驱动的精准诊疗产品多中心临床验证、注册申报及规模化应用,加速甲状腺癌等领域技术成果转化。

近日,上海玄言生物科技有限公司(以下简称"玄言生物")完成新一轮融资,投资方包括德同资本。本轮资金将主要用于推进公司AI驱动的精准诊疗产品在多中心临床验证、注册申报及规模化应用中的落地进程。


# 公司介绍

图片
据素材信息及公开资料查询:
成立日期:2021年4月29日
总部所在地:中国(上海)自由贸易试验区张衡路200号2幢3层
企业定位:集临床科研服务与科研成果转化于一体的平台型公司
主要业务领域:从事生物科技、医药科技领域内的技术服务、技术开发、技术咨询、技术交流、技术转让、技术推广;科技中介服务;软件外包服务;人工智能行业应用系统集成服务;软件开发等

# 产品与技术简介
图片
核心产品类型:
  • 基于AI的淋巴结转移检测试剂盒(甲状腺癌领域)
  • 配套AI辅助诊断软件
应用科室或手术场景:
  • 甲状腺癌淋巴结转移风险评估与手术决策辅助
  • 应用于上海、江苏、山东、河北、江西等多地医疗机构
技术方向或解决的问题:
  • 依托自研"集成组学+AI"大数据分析平台
  • 针对淋巴结转移检测、癌症复发监测、快速分诊等临床决策场景
  • 推进中的管线包括:食管癌淋巴结转移检测、尿路上皮癌复发监测、乳腺癌淋巴结转移与复发检测、急性胸痛快速分诊等
其他研发进展:
  • 依托AI+多组学整合平台,在晚期复发膀胱癌及三阴性乳腺癌领域开展创新靶点研究
  • 与复旦大学药学院达成战略合作,推进相关药效学及安全性评估

# 产品注册证情况
据思宇MedTech查询国家药监局网站,该公司暂无注册证。

# 融资历程
据思宇MedTech查询企查查网站,该公司融资历程如下表:
图片

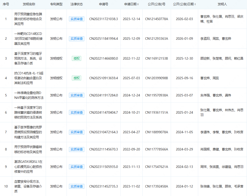
# 专利情况
据思宇MedTech查询企查查网站,该公司部分专利如下表:
图片


声明:
1、凡本网注明“来源:小桔灯网”的所有作品,均为本网合法拥有版权或有权使用的作品,转载需联系授权。
2、凡本网注明“来源:XXX(非小桔灯网)”的作品,均转载自其它媒体,转载目的在于传递更多信息,并不代表本网赞同其观点和对其真实性负责。其版权归原作者所有,如有侵权请联系删除。
3、所有再转载者需自行获得原作者授权并注明来源。

最新评论

关闭

官方推荐 上一条 /3 下一条

客服中心 搜索 洽谈合作
返回顶部